為了適應不同行業對固定法蘭安裝盤的焊接結構、尺寸不同的需求,上海自動化儀表三廠除繼續生產統一標準、符合專業標準的固定法蘭安裝盤以外,還增加了三種不同的焊接方式,以及不同形式密封的固定法蘭安裝盤,新增的固定法蘭安裝盤不僅適用于裝配式熱電偶,而且亦適用于裝配式熱電阻。以下是固定平焊鋼法蘭(B)型圖片尺寸及執行標準:
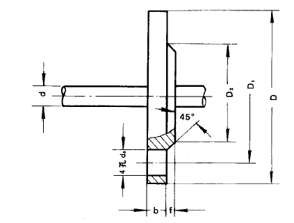
◆熱電偶、熱電阻用固定平焊鋼法蘭(B)型圖片尺寸


◆熱電偶、熱電阻用固定平焊鋼法蘭(B)型執行標準

13501686122
作者:上海自動化儀表三廠 瀏覽量:16609 時間:2018-08-11
為了適應不同行業對固定法蘭安裝盤的焊接結構、尺寸不同的需求, 上海自動化儀表三廠 除繼續生產統一標準、符合專業標準的固定法蘭安裝盤以外,還增加了三種不同的焊接方式,以及不同形式密封的固定法蘭安裝盤,新增的固定法蘭安裝盤不僅適用于裝配式熱電偶

